iPhone将内置呼气传感器 可筛查糖尿病与高胆固醇

发表于 8 小时前 | 显示全部楼层 |阅读模式
44 0
【CNMO科技消息】4月1日,据外媒报道,苹果正在研究如何借助一系列iPhone健康传感器,让用户在家中自行完成呼气分析——只需对着设备呼气即可。
kplfULl7Ny7Lpuqy.jpg


iPhone 17系列
外媒表示,苹果向来对呼吸检测领域有所布局,此前提交的专利申请显示,该公司曾计划为Apple Vision Pro加入呼气检测功能,并通过监测呼吸状态辅助睡眠追踪。如今,苹果一项名为“具有呼吸传感系统的电子设备”的专利正式获得授权。这项技术可应用于多款不同类型的设备,而专利附图则显示,iPhone将是核心载体。
K1R9hcH1mHpmMl8F.jpg


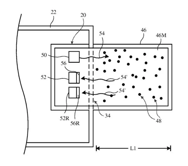
值得关注的是,该呼吸传感器无需用户使用吹嘴,便可直接检测呼吸状态。用户只需拿起设备,正常呼吸片刻,苹果就能获取足够数据,从而识别潜在健康问题。其工作原理依托红外光源:红外光线穿过含有目标气体分子的呼气后被再次接收,而这类气体分子可作为特定健康状况的生物标志物。
这一技术看似仅针对单一病症检测,但苹果表示,它可用于筛查糖尿病、高胆固醇及其他疾病。苹果的设计思路是,将用户呼气数据与数据库进行比对,随后向用户推送潜在健康风险提示,就像当前Apple Watch健康传感器可建议用户就医一样。
r0CiMaaOpepNNwPI.jpg


相关报道
通过呼气检测健康状况优势显著,而借助iPhone这类设备实现该功能,则可联动更多传感器协同工作。苹果在新获授权的专利中明确提出,“可见光摄像头和/或红外深度感知摄像头等传感器,可用于捕捉用户面部图像”。这意味着iPhone能测算面部与呼吸传感器的距离,提示用户靠近;设备还可“调整呼吸传感器内的光束转向装置,将红外光束精准对准用户面部的合适位置”——也就是用户的口鼻部位。
全部评论

暂无评论,期待您打破宁静

您需要登录后才可以回帖 登录 | 立即注册
发表评论
发布 联系QQ